編輯:藍天恒科技(北京)有限公司
日期:2021-04-20 訪問:2166
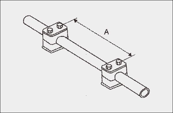
彎頭(彎管)管夾安裝的推薦距離


當彎頭或彎管處用管夾固定時,應該盡可能近地在彎管的兩旁。
裝配說明:
裝配在焊接板上
裝配前,為更好地確定夾的方向,建議先在固定處做好標記,后焊上焊接,嵌上管夾身的下半部分,放上需固定的管子。再放
上另一半管夾身的蓋板,用螺釘擰緊。
切忌直接焊接已裝好管夾的底板。
裝地導軌上
導軌可焊在基礎上,或用螺釘固定,隨后將導軌螺母推入軌內,并轉90度,將下半個管夾身嵌入螺母,放上需固定的管子,再
放上上半個管夾身和蓋板,用螺釘固定。
疊起裝配
導軌可焊在基礎上,或用螺釘固定,先裝上下半個管夾身,放上需固定的管子再放上上半個管夾身,用螺釘固定,通過防松蓋
板防止它轉動。然后安裝第二個管夾,方法同上。

注:執行國標:JB/ZQ4008-97
藍天恒科技(北京)有限公司
經營范圍:管接頭、管件、管夾系列,法蘭系列,閘閥、截止閥、止回閥、球閥、蝶閥、過濾器、電磁閥、電動/氣動執行器、閥門配件等
聯系地址:北京市豐臺區大瓦窯北路
聯系電話:010-83292762
聯系電話:4006 505 303
傳 真:010-83292280
公司官網:www.lthkj.com
郵 箱:lth@lthkj.com
藍天恒科技(天津)有限公司 |
|||||||||||||||||||||
|
|||||||||||||||||||||