編輯:上海雙高閥門集團有限公司
日期:2020-08-29 訪問:3297
雙高調壓閥組用途及特點

一、產品用途及特點:
本公司生產的調壓閥組適用氧氣、氮氣、空氣等氣體的主干管網及支管網等,為提供安全穩定壓力的氣流。該系列產品采用了“集成塊”模
式,設計比較合理,結構緊湊,調試方便等特點。本公司該系列產品被廣泛應用于鋼鐵、化工、制氧站等管網上。
二、型號編制方法:

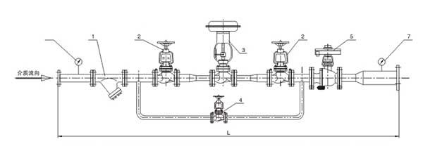
三、氧氣專用調壓閥組簡圖(TYZ-40T)

1、專用過濾器 2、專用截止閥 3、專用減壓閥 4、專用截止閥
2、專用快切球閥 6、進口壓力表 7、出口壓力表
注:調壓閥組的結構長度、接口尺寸可按用戶的要求設計。
上海雙高閥門(集團)有限公司
經營范圍:蝶閥系列, 球閥、柱塞閥系列, 水力控制閥、軟密封彈性座封閘閥系列, 電站閥門系列, 防腐閥門、氧氣閥系列, 平板閘閥、燃氣閥門系列, 閘閥、截止閥、止回閥、刀型漿閘閥系列, 減溫減壓裝置、調節閥、安全閥系列
聯系地址:上海市松江葉榭工業區葉旺路雙高工業區
聯系電話:021-57802222
聯系電話:021-67801100
聯系電話:021-67801122
聯系電話:021-67801266
傳真:021-67801267
公司官網:www.shuanggao.com
郵箱:sales@shuanggao.com
上海雙高閥門(集團)有限公司 |
|||||||||||||||||||||
|
|||||||||||||||||||||